全国2010年1月高等教育自学考试非线性电子电路试
编辑整理:浙江自考网 发表时间:2018-05-24 【大 中 小】
全国2010年1月高等教育自学考试非线性电子电路试题
课程代码:02342
一、单项选择题(本大题共10小题,每小题2分,共20分)
在每小题列出的四个备选项中只有一个是符合题目要求的,请将其代码填写在题后的括号内.错选、多选或未选均无分.
1.若某电路的噪声系数为0dB,则以下说法中正确的是( )
A.该电路本身不会产生噪声
B.该电路的输出信噪比为0
C.该电路的输入信噪比为0
D.该电路已经出现故障,无法正常工作
2.基本型电容反馈式振荡器通常称为( )
A.西勒振荡器
B.考毕兹振荡器
C.密勒振荡器
D.皮尔斯振荡器
3.石英晶体谐振器若工作在ωq<ω<ω0频率范围内(其中ωq为石英晶体的串联谐振频率,ω0为并联谐振频率),则等效为( )
A.电容元件
B.短路线
C.开路线
D.电感元件
4.石英晶体振荡器频率稳定度提高的主要原因是( )
A.具有极高的品质因数
B.减少电源电压波动的影响
C.降低了振荡频率
D.提高了振荡频率
5.在场效应管频谱线性搬移电路中,若满足线性时变工作条件,作为时变偏置控制场效应管工作点的应是( )
A.两个输入中的小信号
B.两个输入中的大信号
C.两个输入中的任一信号
D.两个输入信号同时控制
6.二极管峰值包络检波器中,如果它的交直流负载电阻相差越大,结果是( )
A.越容易出现惰性失真
B.越不容易出现惰性失真
C.越容易出现负峰切割失真
D.越不容易出现负峰切割失真
7.鉴频的实质就是( )
A.将调频波频率的变化变为电压的变化
B.将调频波频率的变化变为相位的变化
C.将调频信号变为调幅信号
D.将调频信号变为调相信号
8.自动增益控制电路中的比较部件为( )
A.电压比较器
B.频率比较器
C.幅度检波器
D.相位比较器
9.锁相环路中的压控振荡器是( )
A.电流—频率变换器
B.电压—频率变换器
C.时间—频率变换器
D.相位—频率变换器
10.自动频率控制电路中的比较部件为( )
A.分频器
B.幅度检波器
C.频率比较器
D.压控振荡器
二、多项选择题(本大题共5小题,每小题2分,共10分)
在每小题列出的四个备选项中至少有两个是符合题目要求的,请将其代码填写在题后的括号内.错选、多选、少选或未选均无分.
11.对高频小信号放大器的基本要求有( )
A.增益要高
B.频率选择性要好
C.工作稳定可靠
D.能够产生足够多的高次谐波
12.正反馈振荡器稳定条件必须同时满足( )
A.![]()
B. ![]()
C. ![]()
D. ![]()
13.以下电路中属于线性频谱搬移的电路是( )
A.振幅调制与解调
B.混频
C.频率调制与解调
D.相位调制与解调
14.直接调频器的优点是( )
A.频率稳定性高
B.电路简单
C.电路复杂
D.可以获得较大的频偏
15.当锁相环路输入固定频率的信号时,在锁定状态其呈现的主要特性为( )
A.有固定的稳态相差
B.有固定的稳态频差
C.没有稳态频差
D.误差电压为直流
三、填空题(本大题共5小题,每小题2分,共10分)
请在每小题的空格中填上正确答案.错填、不填均无分.
16.由于外界条件的变化引起振荡器实际工作频率偏离标称频率的程度称为________.
17.广播接收机的中频频率为465kHz,当收听931kHz电台节目时,听到频率为1kHz的哨叫声,这种干扰现象属于________.
18.调频与调幅相比,最大的优点是________.
19.根据控制信号的不同,反馈控制电路可以分为自动频率控制、锁相环路和________.
20.调频和鉴频属于频谱的________变换.
四、简答题(本大题共3小题,每小题4分,共12分)
21.无线通信中主要包含哪些需要处理的信号?它们各有什么含意?
22.何谓频谱的线性搬移?须采用什么性质的电路实现?
23.简要说明AM调制时功率利用率低的原因.
五、计算题(本大题共5小题,每小题6分,共30分)
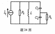
24.题24图示高Q电路中,电感的损耗电阻略去不计,L=100μH,C1=C2=200pF,RS=100kΩ,RL=25kΩ,试计算电路的有载品质因数QL.
25.指出题25图示电路名称,试计算振荡频率和反馈系数.
26.已知u1(t)=6cos2×105πt+0.9cos2.1×105πt+0.9cos1.9×105πt(V)
u2(t)=0.9cos2.1×105πt+0.9cos1.9×105πt (V),试求:
(1)u1(t),u2(t)各属于哪种已调信号;
(2)求出u1(t)的调制度;
(3)它们的频带宽度各为多少?
27.某调频波的载波信号为uc(t)=4cos2π×107t(V),调制信号uΩ(t)=2cos4π×103t(V),调频灵敏度kf=4×103rad/s·V
(1)试写出该调频波的数学表达式;
(2)求该调频波在负载RL=1kΩ上消耗的平均功率P.
28.变容二极管调频电路如题28图所示,已知C1(t)=
pF,L=2μH,EQ=6V,调制信号uΩ(t)=0.3cos2π×103t(V),图中电容C1、C2、C3、C4对交流而言均可视为短路,试计算:
(1)调频波的中心工作频率fc;
(2)调频波的最大频偏Δfm;
(3)调制灵敏度kf.
六、画图与识图题(本大题共3小题,每小题6分,共18分)
29.题29图示为某已调信号的频谱图(设调制信号为余弦形式、载波信号为正弦形式),试求:
(1)这是什么信号的频谱,写出它的数学表达式;
(2)定性绘出该已调信号的波形图.
30.试指出题30图所示丙类功放电路中存在的错误,说明其修改方式并绘制出修改后的电路图.
31.电路框图如题31图所示,试问此图可实现何种功能?对低通滤波器有何要求?
浙江自考网声明:
1、由于各方面情况的调整与变化,本网提供的考试信息仅供参考,考试信息以省考试院及院校官方发布的信息为准。
2、本网信息来源为其他媒体的稿件转载,免费转载出于非商业性学习目的,版权归原作者所有,如有内容与版权问题等请与本站联系。
浙江自考便捷服务
浙江自考网微信交流群
